| 注意:访问本站需要Cookie和JavaScript支持!请设置您的浏览器! • 打开购物车 • 查看留言 • 付款方式 • 联系我们 |
![]() |
| 首页 | 电子入门 | 学单片机 | 免费资源 | 下载中心 | 商品列表 | 象棋在线 | 在线绘图 | 加盟五一 | 加入收藏 | 设为首页 |
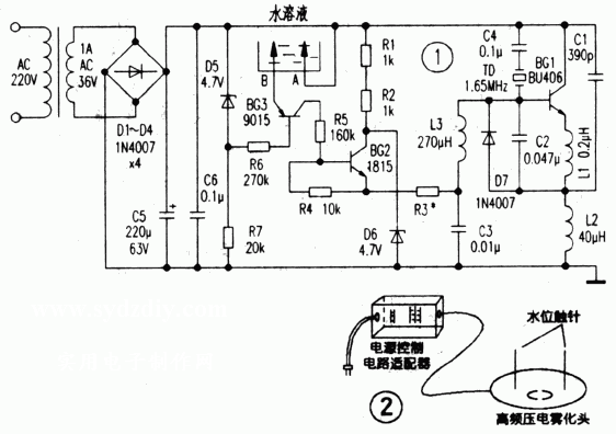
| 选择分类:当前分类——实用电路 相关联或者相类似的文章: 物理学的前沿--弦理论(10) 引导还是教唆?——某些儿童用品电(9) 五一单片机导购以及光盘大合并!(6) 多频超声波发生器(5) 用AVR单片单片机建立实验应用全过程(4) 新型调频发射芯片MAX2606(4) RegExp正则表达示用法(3) 简单的RS232C电平转换和串口取电(-7) TDA2030A装的18W单声道功放板(-8) USB接口器件PDIUSBD12的接口应用设计(-10) 图示均衡器的使用技巧(-14) 推荐在别站发贴内容的例子!(-18) 二极管的特性与应用 (-20) 一款不易破坏的报警器(-21) Hi-Fi功放设计要点(-34) 盲目试验 损失超百元(-38) 120MHz 2051 频率计 (-42) 光电耦合器的应用(-46) 双声道功率放大器(-46) 看看别人在本站下的订单(-47) 首页 前页 后页 尾页 本站推荐: | 多用途超声波微型雾化器 作者:新力 来源:《电子报》|成都 笔者介绍一种多用途的超声波雾化器。该雾化器具有以下特点:分体式,即超声雾化头与电源和电路部分完全分离;便携式,体积小、即插即用、设有自保功能;高可靠,可全天候工作;雾化量大,与别墅的山水盆景配套可发生云雾缭绕的动感;特别适合过分干燥的环境对空气加湿,以利人的呼吸;在水中加入适量的某种溶剂,给被污染的居住环境消毒,以预防疾病(如把生活用醋定时雾化,可预防流感);雾化器(成品)售价低、性价比高,欲自制雾化器,仅器材和工时费也难敌上述的性价比。 1、 本站不保证以上观点正确,就算是本站原创作品,本站也不保证内容正确。 2、如果您拥有本文版权,并且不想在本站转载,请书面通知本站立即删除并且向您公开道歉! |
|
本站协议 |
版权信息 |
关于我们 |
本站地图 |
营业执照 |
发票说明 |
付款方式 |
联系方式
深圳市宝安区西乡五壹电子商行——粤ICP备16073394号-1;地址:深圳西乡河西四坊183号;邮编:518102 E-mail:51dz$163.com($改为@);Tel:(0755)27947428 工作时间:9:30-12:00和13:30-17:30和18:30-20:30,无人接听时可以再打手机13537585389 |